鉅大鋰電 | 點擊量:0次 | 2019年03月26日
分析:水分含量對鋰離子電池性能的影響!
影響鋰電池性能的因素有很多,諸如材料種類、正負極壓實密度、水分、涂布面密度及電解液用量等。其中水分對鋰離子電池的性能有著至關重要的影響,水分是鋰離子電池生產過程中需要嚴格控制的關鍵因素,水分過量時不但能夠導致電解液中鋰鹽的分解并對正負極材料、集流體都有一定的腐蝕破壞作用,而且也導致電池的循環性能及安全性能的降低。但是痕量的水分又有重要的意義,下面具體介紹下水分對鋰電池性能的影響。
一、水分過量的弊端
在三元/石墨體系電池制作過程中,正極漿料的制備一般會選用油系分散體系,采用PVDF作為粘結劑,NMP作為溶劑。PVDF遇到過量的水分會生成膠狀的物質,導致漿料的流動性和流平性很差,不利于漿料的涂布。所以,在漿料制備時,必須注意原材料的水分含量、工作環境以及人員操作過程中水分的引入。
除了對鋰電池漿料制備有巨大的影響外,水分過量會引起電解液的分解。反應如下所示:

氫氟酸是一種腐蝕性特別強的酸,會對鋰電池正負極材料、集流體造成嚴重的破壞,最終導致電池出現安全性問題。
二、痕量水分的意義
但是,鋰電池中并不是水分越少越好。大家知道,固體電解質界面(俗稱SEI膜)是一層選擇性透過膜,能使Li+自由透過,而電解液分子不能透過。電解液的組成和痕量的添加劑對SEI膜形成的電位、致密程度、電池不可逆容量損失、電池內阻等有顯著的影響。而水作為電解液中一種痕量組分,對鋰離子電池SEI膜的形成和電池性能有一定的影響。
三、水分對鋰電池性能的影響
在不同的材料體系中,水分含量對電池的性能有很大的影響。但是,不變的是水分對鋰電池的首次充放電容量、內阻、電池循環壽命、電池體積均有影響。下面以鈷酸鋰/石墨體系電池來舉例說明。
1.對首次充放電容量的影響
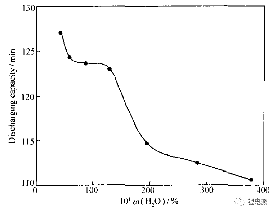
水分與鋰電池中SEI的形成有關,必然會影響鋰電池的首次不可逆容量損失。如圖1所示:

圖1.水分含量對電池充放電容量影響
在電池中水分小于0.015%時,電池首次放電容量符合國標且變化較小;在電池水分在0.015%~0.04%范圍內時,電池首次放電容量隨電池中水分的增加而減小。當電池中水分含量小于0.015%時,以下反應占主導。

單電子還原過程生成的烷基碳酸鋰還可以與電解液中的痕量水發生反應,生成碳酸鋰。
2ROCO2Li+H2O→Li2CO3+CO2+2ROH
當生成CO2后,在低電位下的負極表面,有新的化學反應發生:
2CO2+2Li++2e→Li2CO3+CO
由此可見,適量水分有助于形成以Li2CO3為主、穩定性好、均勻致密的SEI膜。當SEI膜完全覆蓋負極以后,不可逆反應立即停止。
當水分含量在0.0150%~0.04%范圍內時,鋰離子消耗量增多,電池充放電容量減少,對其有負面影響。
2.對電池內阻的影響
電池的內阻是電池最為重要的特性參數之一,是表征電池循環壽命和運行狀態的重要參數,是衡量離子和電子在電池內傳輸難易程度的主要標志。內阻大小主要受電池材料、制造工藝、電池結構等因素的影響。內阻越小,電池放電時所占用的電壓越小,輸出的能量越多。對于長期存儲的電池來說,內阻會隨著存儲時間的增加而升高,內阻超過一定值時會對電池的性能造成很大的影響。由于水分含量對鋰電池中SEI膜的質量有影響,簡介影響到了電池的內阻。
在EC/DMC/EMC電解液溶劑體系中,痕量的水能夠形成以Li2CO3為主、穩定性好、均勻致密的SEI膜,其內阻較小。當水分含量多于體系形成SEI膜的所需含量時,在SEI膜表面生成POF3和LiF沉淀,導致電池內阻增加。如圖2所示:

圖2.水分含量對電池內阻的影響
3.對電池容量衰減的影響
水分含量影響到電池SEI膜的性質,如均勻性和致密程度等,當SEI膜均勻致密時,電解液溶劑不易嵌入到負極中,占據Li+嵌入空位,因此容量衰減很少。與此相反,當SEI膜的局部不致密、不均勻時,Li+嵌入空位被電解液溶劑占據相對較容易。Li2CO3是形成均勻致密SEI膜最主要的組分,EC/DMC/EMC電解液溶劑體系中,適量的水能促進以Li2CO3為主的SEI膜的形成,當水分含量足夠或者過量時,形成的SEI膜就越致密、均勻,溶劑嵌碳負極的概率就越小。這就是水分在0.015%~0.04%范圍內時,電池容量衰減隨水分含量增加而逐漸減小的原因。當水分小于0.015%時,在負極表面形成了較致密的SEI膜,使溶劑嵌入維持在平衡狀態。因此,電池容量衰減維持在比較穩定的狀態。

圖3.水分含量對電池容量衰減率的影響
4.對電池厚度的影響

圖4.水分含量對電池厚度的影響
由圖可以看出,隨著水分含量的增加,電池的厚度也在變大。當水分含量這是由于在SEI膜形成過程中會產生CO2、CO等氣體。并且當水分過量時,多余的水會繼續與LiPF6反應產生HF氣體。電池內部產氣量關系著電池的安全性,為避免電池出現嚴重的脹氣問題,要嚴格控制電池內部的水分。










